Bayanin Sirri: Sirrinka yana da matukar mahimmanci a gare mu. Kamfaninmu yayi alkawarin kar a bayyana keɓaɓɓun bayananku ga kowane fallasa tare da izini na bayyananne.
Kayan samfur
Aika Aikace-aikacen
Model No.: RVP6 Series Check Valve
Alamar: Haohong
Origin: Huaian City, China
Alamar shaida: Ce certificate
Warranty Period: 1 Year
Out-of-warranty Service: Video Technical Support, Online Support, Field Maintenance And Repair Service, Spare Parts
Where To Provide Local Services (in Which Countries Are There Overseas Service Outlets): Other
Showroom Location (in Which Countries Are There Sample Rooms Overseas): Other
Place Of Origin: China
Service System: Field Installation, Commissioning And Training, Online Support, Video Technical Support, Field Maintenance And Repair Service, Free Spare Parts
Valve Type: Other
Weight: 0.26kg
Rufin jerin RVP rijiyar riƙe bawul din yana da tsarin Fika.it yana da ƙananan asarar matsin lamba. Da yawa amfani da shi a kantin famfo a matsayin bawul ɗin matsin lamba da bawul na baya.

Bambanci tsakanin Series Series da jerin jerin RVP Hydraulic duba bawul shine hanyar kafa.
HAHGON Hydraulic yana da nau'ikan bawuloli masu yawa don ku zaɓi da buƙatunku.Dukanku boyoshin belignal ne mai zafi. 

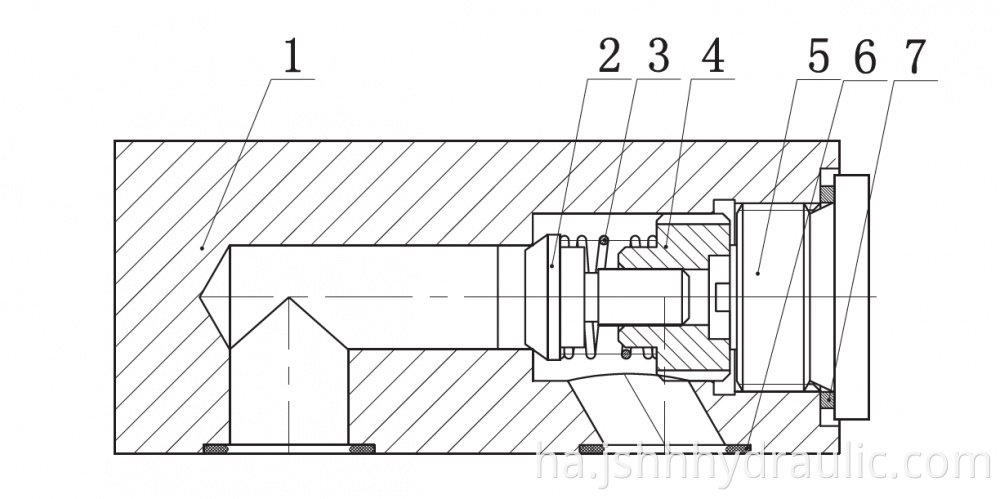
1. Balawa Balve
2. Balawa ta Valve
3. Lokacin bazara
4. wurin zama na bazara
5. CIGABA DA KYAUTA
6. Zobe
7. Hadar Washer
Packaging: cakuda tare da cokali 5 Brown Box
Yawan aiki: 10000 sets/month
Wurin Bayani: Huaian City, China
Abubuwan Abubuwan Dama: 10000 sets/month
Certificate: Ce certificate
HS Code: 8481201090
Nau'in Biyan kuɗi: L/C,T/T,D/P,D/A,Paypal
Ba da fatawa: FOB,CFR,CIF,EXW
GET IN TOUCH
If you have any questions our products or services,feel free to reach out to us.Provide unique experiences for everyone involved with a brand.we’ve got preferential price and best-quality products for you.
Bayanin Sirri: Sirrinka yana da matukar mahimmanci a gare mu. Kamfaninmu yayi alkawarin kar a bayyana keɓaɓɓun bayananku ga kowane fallasa tare da izini na bayyananne.
Cika ƙarin bayani don hakan na iya shiga tare da ku cikin sauri
Bayanin Sirri: Sirrinka yana da matukar mahimmanci a gare mu. Kamfaninmu yayi alkawarin kar a bayyana keɓaɓɓun bayananku ga kowane fallasa tare da izini na bayyananne.